十堰卡友13.75米三軸飛翼半掛VS13.75米兩軸廂式半掛,您更鐘意哪款?
發布日期:2020-09-05 04:09:52 編輯:歐陽華俊 瀏覽量:1737隨著我國物流行業的快速發展,飛翼半掛車、廂式半掛車以其方便快捷的裝卸方式,越來越受到客戶的青睞。下面和小編給您對比十堰物流公司在歐陽華俊定制的13.75米三軸飛翼半掛和13.75米兩軸廂式半掛,看看您更鐘意哪款呢?
13.75米三軸飛翼半掛


飛翼車廂主要可用于汽車配件,紙張、家電、衣物、化工、飲料、食品等物品的運輸和配送。飛翼半掛車的車廂密封性好,適合機械快速裝卸,速度快,效率高,省時間,省人工,節約本。
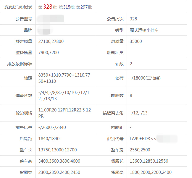
13.75米兩軸廂式半掛


廂式半掛車廂頂有封閉式、推拉開啟式、敞開式、敞口代篷布桿式等,操作方便,滿足用戶多樣化、個性化要求。整車采用高強度的冷扎瓦楞鋼板,無骨架結構,裝貨空間大,廂體內合理分布,具有多拉、重載、自重輕的特點。

廂式半掛漏水問題向來是高發問題,用戶對此都特別關心,為了讓大家放心車廂的防水效果,歐陽華俊的每臺廂式車廂都進行淋雨實驗,當場檢查是否有漏水的問題。我們歐陽華俊將努力做到發現問題、解決問題、改善問題。提高產品質量,追求更好的品質。

買半掛車選擇歐陽華俊掛車廠!客戶說好才是真的好!歐陽華俊是工信部公告企業,通過ISO9001質量管理體系認證,質量優,做工好,口碑贊,萬千卡友的共同選擇!全國免費咨詢熱線:400-0633-377。

對飛翼半掛、廂式半掛歐陽華俊可定制生產兩軸和三軸12米、12.5米、13米、13.58米、13.75米等不同長度規格,所做車型均有公告資質,可上戶。歡迎廣大新老客戶來廠考察洽談~
訂車優惠熱線:13396117366,13367109288
網址:http://m.028njlm.com/
地址:湖北省棗陽市優良河工業園316國道南側